Page 18 - Dixon Bayco Dry Bulk 2013_wm

Basic HTML Version

800.355.1991
16
Dixon Bayco 2013
Products
Dry Bulk
Dry Bulk Products
Butterfly Valves
Two-Piece Aluminum Body with Stainless Steel Disc and White Buna N Seals
Valve
Size
Flanges
Required
Complete Valve
Part #
1
Aluminum
Handle Kit
Part #
Iron
Handle Kit
Part #
Replacement
Stainless
Disc Part #
Replacement
Black Buna
Seat Part #
3"
125/150# flange
3-390-828501
206-23-5
237-23-10
3-390-209F
3-400-422501
4"
125/150# flange
4-390-828U501
206-46-5
237-46-10
4-390-209U 4-400-422501
5"
125/150# flange
5-390-828U501
206-46-5
237-46-10
5-390-209U 5-400-422501
6"
125/150# flange
6-390-828U501
400-206-65
400-237-610
6-390-209U 6-390-393501
1
Handle kits are sold separately, choose aluminum or iron (aluminum handles have 5 open positions; iron handles have 10
open positions)
3-390-828501
Product instruction sheets and technical data, can be viewed on our website at dixonbayco.com, and select the "Resources" Menu
Features:
two-piece valves are designed specifically for pneumatic conveying and abrasive applications
The seat ID matches the ID of Schedule 40 pipe, resulting in smoother product flow
two-piece split body design simplifies field maintenance by eliminating the need for special tools
Butterfly Valve Replacement Parts
Part #
Description
2-400-422240
replacement stainless steel valve stem for 2" valve
3-400-422240
replacement stainless steel valve stem for 3" valve
4-400-422240
replacement stainless steel valve stem for 4" valve
5-400-422240
replacement stainless steel valve stem for 5" valve
6-400-422240
replacement stainless steel valve stem for 6" valve
2-3-400-99-BPKIT
bushing and packing kit for 2" and 3" valves
4-6-400-99-BPKIT
bushing and packing kit for 4", 5" and 6" valves (not for 6" 2-piece valve 6-390-828U501)
6-99-400BPKIT
bushing and packing kit for 6" (6-390-828U501)
2-3-213
stainless screw sets for 2" and 3" valves
4-5-6-213
stainless screw sets for 4", 5" and 6" valves
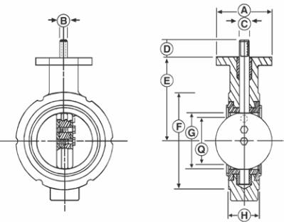
Butterfly Valve Dimensions
Size A B C D E F G H Q lbs.
2" 4.000 0.375 0.563 1.250 3.938 4.125 2.125 1.625 1.688 3
3" 4.000 0.375 0.563 1.250 4.875 5.375 3.125 1.750 2.875 5
4" 4.000 0.438 0.625 1.250 6.000 6.875 4.125 2.000 3.875 8
5" 4.000 0.438 0.625 1.250 6.000 7.625 5.188 2.125 5.000 9
6" 4.000 0.438 0.625 1.250 6.625 8.750 6.125 2.125 6.000 9
8" 6.000 0.500 0.750 1.250 8.313 11.000 8.125 2.500 8.000 --
10" 6.000 0.625 0.875 1.250 9.125 13.375 10.125 2.500 10.000 --
All dimensions are given in inches
"Q" dimension is the minimum allowable inside diameter of the pipe or
mating flange