Page 157 - ParkerBrassCatalog2010

SEO Version

Parker Hannifn Corporation
Parker Brass Products Division
Otsego, Michigan
D21
Catalog 3501E
TrueSeal™ Thermoplastic Push-In Fittings
D
PTS - Pipe Thread Sealant
NSF-51listed silicone.
AQRT - Quick Release Tool
TRUESEALANT
TRUESEAL
To be used with soft
durometer tubing.
SC - Safety Clip
(Patent No. 6,065,779)
TS - Tube Supports
Standard color is black or
blue. Other colors available
upon request.
Makes disconnection
of tube adapters and
tubing a breeze.
Part
Number
Part
Number
For
Nominal
Tube
O.D.
SC-4
SC-4-B
1/4
SC-5
SC-5-B
5/16
SC-6
SC-6-B
3/8
SC-8
SC-8-B
1/2
Nylon
Part
Number
Polypropylene
Part
Number
N4TS3
P4TS3
N5TS3
P5TS3
N6TS4
P6TS4
N8TS6
P8TS6
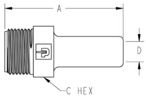
TAF - Tube Faucet Adapter
(Male Thread)
White
Acetal
Tube
Stem
O.D.
Thread Size
A
C
Hex
D
Min.
AW6TAF7-MG 3/8
7/16-24
1.41
.50
.22
AW6TAF8-MG 3/8 1/2-14 NPSM 1.65
.88
.22
AW6TAF9-MG 3/8
9/16-24
1.45
.63
.22
TFA - Tube Faucet Adapter
(Female Thread)
White
Acetal
Tube
Stem
O.D.
Thread Size
A
C
Hex
D
Min.
AW6TFA7-MG 3/8
7/16-24
1.25
.69
.17
AW6TFA8-MG 3/8 1/2-14 NPSM 1.45 1.06
.22
AW6TFA9-MG 3/8
9/16-24
1.25
.75
.22